애플이 폴더블 디바이스의 힌지 구조에 대한 특허를 제출했다. (출처 : 미 특허청 웹사이트) |
<이미지를 클릭하시면 크게 보실 수 있습니다> |
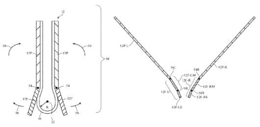
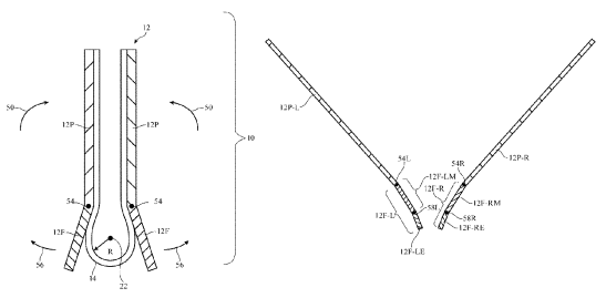
[smartPC사랑=남지율 기자] 애플이 2월 4일(현지시간), 폴더블 디바이스의 힌지 구조에 대한 특허(미국 특허 번호 : 10,551,880)를 미 특허청에 제출했다.
이번 특허는 폴더블 디스플레이가 구부러질 때 함께 움직이는 디스플레이 힌지에 관한 것이다. 특허에 언급된 애플의 힌지 구조는 디바이스가 펼쳐지면 움직이는 덮개가 빈 공간을 메꿔주고, 접히면 다시 원래 위치로 돌아가는 방식이다. 애플은 해당 특허의 문서에서 '새로운 힌지 구조를 통해 디스플레이의 주름 및 파손을 방지할 수 있을 것'이라고 언급했다.
한편, 애플은 이미 폴더블 스마트폰에 관한 특허를 여러 차례 제출했으며, 폴더블 글래스를 개발하고 있는 코닝(Corning)사에 2억 5,000만달러를 투자하는 등 폴더블 디바이스에 대한 큰 관심을 보였다.
하지만 애플의 폴더블 디바이스를 올해 만나기는 어려울 것으로 보인다. 애플 신제품 예측의 높은 적중률로 유명한 밍치 궈(Ming-Chi Kuo)의 2020년 예상 라인업에는 폴더블 디바이스가 없으며, 맥루머스와 같은 애플 전문 매체도 2020년보다는 2021년에 애플 폴더블 디바이스가 출시될 확률이 높을 것이라고 전망했기 때문이다.
<저작권자 Copyright ⓒ 스마트PC사랑 무단전재 및 재배포 금지>
이 기사의 카테고리는 언론사의 분류를 따릅니다.
기사가 속한 카테고리는 언론사가 분류합니다.
언론사는 한 기사를 두 개 이상의 카테고리로 분류할 수 있습니다.
언론사는 한 기사를 두 개 이상의 카테고리로 분류할 수 있습니다.
