10일 관련 업계에 따르면 세계지식재산권기구(WIPO)는 로욜의 특허 출원 문서를 지난달 4일 공개했습니다.
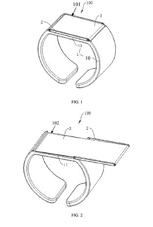
해당 특허는 '착용식 기구(wearable apparatus)'의 디자인에 관한 내용입니다. 밴드 위에 직사각형 형태의 디스플레이 패널이 탑재된, 스마트 워치와 유사한 형태의 제품인데요.
디스플레이 패널을 반으로 접을 수 있다는 게 특허의 핵심입니다. 평소에는 패널을 접은 채로 손목에 차고 다니다가, 필요에 따라 활짝 펼쳐서 쓸 수 있는 셈이죠. 밴드 부분에는 배터리를 탑재해 잦은 충전 없이도 이용할 수 있습니다.
삼성전자 또한 스마트폰과 스마트 워치 사이에 있는 것으로 보이는 제품을 준비 중인 것으로 보입니다. 지난 3월 WIPO가 공개된 특허 문서에서 삼성전자 측은 "플렉서블 디스플레이를 활용해 형상이 변형 가능한 전자장치"라고 제품을 설명했습니다.
지난 3월 공개된 삼성전자의 스마트폰 디자인 특허 |
<이미지를 클릭하시면 크게 보실 수 있습니다> |
이 제품은 일반적인 스마트폰에 비해 세로의 길이가 훨씬 더 긴 제품입니다. 유연한 본체를 활용해 시계처럼 손목에 착용할 수 있다는 게 특징인데요. 본체가 기존 스마트 워치의 밴드 역할까지 맡게 되는 셈입니다.
폴더블 워치를 개발 중인 로욜과 삼성전자 모두 폴더블폰을 개발한 업체이기도 합니다. 로욜은 지난해 10월 세계 최초로 폴더블폰 '플렉스파이'를 공개한 바 있습니다. 삼성전자는 지난달 26일 미국에서 갤럭시 폴드 판매를 시작할 예정이었지만, 일부 리뷰용 제품에서 스크린 관련 결함이 나타나면서 출시를 미뤘습니다.
폴더블폰 개발 과정에서 확보한 디스플레이 패널 기술을 활용한다는 전략으로 풀이됩니다. 시계 형태를 고수하고 있는 스마트 워치가 좁은 스크린으로 인해 활용성이 떨어진다는 점을 해결하려는 노력이라고 볼 수 있습니다.
통계전문기관인 스태이티스타는 지난해 전 세계적으로 약 1억4100만대의 스마트워치가 판매된 것으로 집계했습니다. 글로벌 스마트워치시장 수익은 향후 10년간 90억 달러(약 10조5900억원)에서 300억 달러에 달할 것으로 전망됩니다.
백준무 기자 jm100@ajunews.com
백준무 jm100@ajunews.com
- Copyright ⓒ [아주경제 ajunews.com] 무단전재 배포금지 -
이 기사의 카테고리는 언론사의 분류를 따릅니다.
기사가 속한 카테고리는 언론사가 분류합니다.
언론사는 한 기사를 두 개 이상의 카테고리로 분류할 수 있습니다.
언론사는 한 기사를 두 개 이상의 카테고리로 분류할 수 있습니다.
