안으로 두 번 접는 방식
실제 기술 구현 가능할까
차세대 폴더블폰 경쟁 후끈
<이미지를 클릭하시면 크게 보실 수 있습니다> |
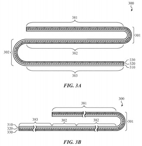
애플이 양쪽에서 안으로 포개어 접는 폴더블 디스플레이 특허를 확보했다.
<시엔엔>(CNN), <시넷>(CNET) 등 미국 매체들은 28일(현지시각) 미국 특허청이 애플의 새 폴더블 디스플레이 특허 내용을 공개했다고 29일 보도했다. 특허명은 ‘차세대 아이디바이스(iDevice)를 위한 멀티접이식 디스플레이 폼팩터(새로운 형태)’다. 지난해 1월 신청된 이 특허는 향후 아이폰과 아이패드를 비롯해 애플 관련 제품에 적용될 수 있다.
애플이 새로 공개한 폴더블 특허는 갤럭시폴드처럼 안쪽을 향해 접는 ‘인폴딩’ 방식이다. 완전히 펼친 디스플레이를 안으로 한 번 접고 다시 그 위로 겹쳐 접는 식이다. 겹쳐 접는 면이 맞은편 접힌 면 위로 올라가야 해 더 큰 폭으로, 유연하게 접혀야 한다. 겹쳐 접는 방식이 상용화되면 갤럭시폴드처럼 큰 화면으로 게임을 하거나 동영상을 보다가 필요할 때 작게 접어서 들고 다닐 수 있다. 애플은 또 접는 면을 서로 교차해 한쪽은 안으로, 한쪽은 밖으로 접는 방식도 함께 첨부했다.
특허를 등록했다고 해서 애플이 그대로 기기에 구현하는 것은 아니다. 스마트폰 제조사들은 실제 기술로 구현하지 않은 디자인도 특허 등록해 경쟁사와의 특허 분쟁에 대비한다. 애플은 지난 2011년 폴더블 기기에 도전한다고 알린 이래 수직으로 한 번 접는 디스플레이, 세 번 접는 디스플레이, 뚜껑과 경첩이 달린 디스플레이 등을 꾸준히 특허신청했다. 미국 웨드부시증권의 대니얼 아이브스 분석가는 “이번 특허는 애플 제품 로드맵에 폴더블 장비가 있다는 사실을 보여준다는 점에서 중요하다”고 <시엔엔>에 말했다.
‘접히는 휴대폰’ 시장경쟁도 더 치열해질 것으로 보인다. 삼성전자는 갤럭시폴드 부품 하자를 보완해 출시준비에 박차를 가하고 있고 중국 화웨이는 ‘메이트 엑스(X)’ 출시를 위해 구글에 안드로이드 운영체제 인증을 요청했다. 한편, 애플은 28일(현지시각) 새 아이팟 터치 제품을 발표했으며 멀티카메라와 무선충전기능을 갖췄다고 알려진 아이폰11을 개발 중이다.
신다은 기자 downy@hani.co.kr
[▶네이버 메인에서 한겨레 받아보기]
[▶한겨레 정기구독] [▶영상 그 이상 ‘영상+’]
[ⓒ한겨레신문 : 무단전재 및 재배포 금지]
이 기사의 카테고리는 언론사의 분류를 따릅니다.
기사가 속한 카테고리는 언론사가 분류합니다.
언론사는 한 기사를 두 개 이상의 카테고리로 분류할 수 있습니다.
언론사는 한 기사를 두 개 이상의 카테고리로 분류할 수 있습니다.
