닌텐도 조이콘2의 낚싯대 컨트롤러 변환 특허 [사진: 닌텐도 파텐트 와치] |
<이미지를 클릭하시면 크게 보실 수 있습니다> |
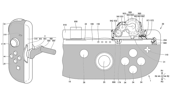
[디지털투데이 AI리포터] 닌텐도가 새로운 특허를 통해 조이콘2를 낚싯대 컨트롤러로 변환하는 액세서리를 계획 중인 것으로 밝혀졌다고 9일 온라인 매체 기가진이 전했다.
닌텐도 특허 정보를 추적하는 '닌텐도 특허 관찰'(Nintendo Patents Watch)에 따르면, 조이콘2를 위한 새로운 특허는 2024년 2월 1일 출원돼 2025년 7월 8일 발행됐으며, 2025년 8월 7일 공개됐다.
특허에서는 조이콘2를 위한 2가지 새로운 부착물인 크랭크와 클릭 가능한 휠이 공개됐다. 크랭크는 회전 디스크와 마우스 센서를 활용해 동작을 추적하며, 자석을 이용해 조이콘2에 고정된다. 클릭 가능한 휠은 기어 메커니즘을 통해 회전을 추적하며, 클릭 기능도 포함된다.
이 특허는 닌텐도가 조이콘2를 활용해 보다 정교한 낚시 액세서리를 개발하려는 의도로 풀이된다. 과거 닌텐도는 라보(Labo) 시리즈를 통해 조이콘을 낚싯대로 변환한 바 있지만, 이번 특허는 보다 정밀한 센서 기술을 적용한 것이 특징이다.
해당 특허가 상용화될지는 미지수지만, 동물의 숲 시리즈 등에서 더욱 현실감 있는 낚시 경험을 제공할 가능성이 높다고 매체는 전했다.
<저작권자 Copyright ⓒ 디지털투데이 (DigitalToday) 무단전재 및 재배포 금지>
이 기사의 카테고리는 언론사의 분류를 따릅니다.
기사가 속한 카테고리는 언론사가 분류합니다.
언론사는 한 기사를 두 개 이상의 카테고리로 분류할 수 있습니다.
언론사는 한 기사를 두 개 이상의 카테고리로 분류할 수 있습니다.
